二十二酰胺新闻专题

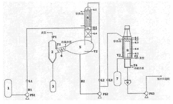
一种山嵛酸酰胺的连续分离提纯装置和方法
山嵛酸酰胺是高分子材料中一种十分重要的加工助剂,广泛 用作 CPP、B0PP、B0PET、BOPS、B0PA、B0PCA、BOPEN、POE、LLDPE、EVA 和复合膜等的开口 防粘剂 和抗划伤剂;工程塑料的光亮脱模剂和模内流动促进剂;数据传输线的抗静电剂和润滑剂; 电容器用橡胶密封垫的爽滑剂和脱模剂;热塑性弹性体的脱模剂和润滑剂;3D打印耗材中 的加工助剂;天然气输送管道用减阻剂等,市场上急需纯度高和稳定性好的高端产品。
2022/1/5 11:26:48
阅读量:616
二十二酰胺的应用
二十二酰胺用于聚氯乙烯、聚乙烯、聚丙烯挤塑薄膜等的优良润滑剂。现有技术和装备合成的山嵛酸酰胺(二十二酰胺)产物颜色偏深,熔点偏低,粘度较大,流动性差,含有少量的低沸物和高沸物,影响产品的应用性能,不宜直接添加使用,需进行分离提纯,这道工序对产品的收率和品质十分关键。
2020/1/1 10:28:37
阅读量:740