邻甲基苯乙酸的制备方法

2025/11/10 13:54:26 作者:梨尔

邻甲基苯乙酸(2-Methylphenylacetic acid)是一种重要的有机化工精细化学品中间体,在医药、香料、染料等领域中有广泛的应用。

应用

在医药领域中,邻甲基苯乙酸是一种常见的非甾体抗炎药和退热药的原料。它可以通过对邻苯二甲酸的酯化反应得到甲苯基苯乙酸酯,然后经过水解反应制得邻甲基苯乙酸。在香料领域中,它可以用于制造肥皂、香水等产品,具有较好的增香效果。在染料领域中,它可以作为染料的中间体,用于生产各种有机染料

制备方法

邻甲基苯乙酸制备步骤[1]如下:

(1)将邻甲基氯化苄和氰化钠水溶液置于反应釜中,搅拌条件下,滴加四丁基溴化铵合成邻甲基苯乙腈,温度控制在85~90℃之间,合成时间为80~100 min。邻甲基氯化苄:氰化钠:四丁基溴化铵的摩尔比为1 : 1.15 : 0.012,氰化钠和水的质量比为1 : 1.8。

(2)将邻甲基苯乙腈通过氢氧化钠溶液进行水解,得到邻甲基苯乙酸钠水溶液,邻甲基苯乙酸钠水溶液经过活性炭吸附、树脂吸附除去杂质。将去杂后的邻甲基苯乙酸钠水溶液经过硫酸酸化,得到邻甲基苯乙酸水溶液,然后降温析晶、离心、烘干得到成品邻甲基苯乙酸。

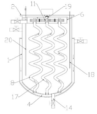
该方法需要注意的是步骤(1)所用的反应釜包括釜体1,釜体1的上端设置有釜盖2,釜体1的外侧套装有外壳体3,外壳体3与釜体1之间设置有调温腔4,调温腔4的上端设置有进液管5,釜体1内的上端设置有中空盒体6,中空盒体6上设置有出液管7,釜体1内沿周向均布有多个第一螺旋管8,第一螺旋管8为中空结构,第一螺旋管8的上端置于中空盒体6内,且与中空盒体6的下端转动相连第一螺旋管8的下端置于调温腔4内,且与釜体1的下端转动相连,釜体1内还设置有电机9驱动的搅拌轴10,搅拌轴10上设置有主动齿轮11,第一螺旋管8上设置有与主动齿轮11啮合的从动齿轮12,釜体1的侧壁上设置有加料管13,釜体1的下端设置有出料管14。进一步地,搅拌轴10的上端转动穿过中空盒体6,且设置有内齿轮15,釜盖2上设置有电机9驱动的传动轴16,传动轴16的下端设置有与内齿轮15啮合的外齿轮圈。主动齿轮11设置于中空盒体6内的搅拌轴10上,从动齿轮12设置于中空盒体6内的第一螺旋管8上。搅拌轴10为中空的第二螺旋管17,第二螺旋管17的下端置于调温腔4内,且与釜体1的下端转动相连,第二螺旋管17的上端为封闭端,且转动穿过中空盒体6,中空盒体6内的第二螺旋管17上设置有出液孔19。釜体1内设置有温度传感器18,温度传感器18的上端与釜盖2相连[1]

图1 反应釜的结构示意图1.png

图1 反应釜的结构示意图1

图2 反应釜的局部放大A.png

图2反应釜的局部放大A

图3 反应釜的结构示意图2.png

图3 反应釜的结构示意图2

参考文献

[1]新乡市康健化工有限公司.一种合成邻甲基苯乙酸的反应釜:202023197174.1[P].2021-10-26.

免责申明 ChemicalBook平台所发布的新闻资讯只作为知识提供,仅供各位业内人士参考和交流,不对其精确性及完整性做出保证。您不应 以此取代自己的独立判断,因此任何信息所生之风险应自行承担,与ChemicalBook无关。文章中涉及所有内容,包括但不限于文字、图片等等。如有侵权,请联系我们进行处理!
阅读量:276 0

欢迎您浏览更多关于邻甲基苯乙酸的相关新闻资讯信息