背景技术
二氟氯乙酸烷基酯,例如二氟氯乙酸甲酯(CClF2COOCH3,简称CDFAMe)和二氟氯乙酸乙酯(CClF2COOC2H5,简称CDFAEt),由于含有CClFz-基团,不仅能够用于加氢脱氯制备二氟乙酸酯及其衍生物,还可以作为二氟甲基和二氟亚甲基的合成砌块用于多种化合物的合成。二氟氯乙酸(CClF2COOH,简称CDFA),可用于合成二氟乙酸、芳基二氟甲基醚和二氟亚环丙基化合物等,还可以用于合成治疗疟疾和癌症等药物的中间体等。

二氟氯乙酸乙酯可通过二氟氯乙酰氯(CClF2COCl,简称CDFAC)与乙醇进行酯化反应制得,或二氟氯乙酸与乙醇脱水反应制得,二氟氯乙酸可直接通过二氟氯乙酰氯水解制得。例如中国专利CN105859540报道了二氟氯乙酸的生产工艺,二氟四氯乙烷(R112a)和三氧化硫先在催化剂作用下制得二氟氯乙酰氯和硫酰氯,二氟氯乙酰氯再经水解制得二氟氯乙酸。此方法采用间歇工艺,不利于实现连续规模化生产。
生产工艺[1]
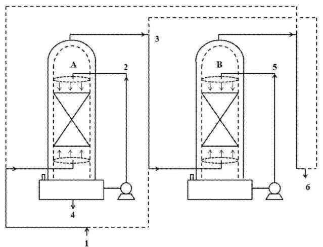
如图使用喷淋塔A作为一级吸收塔制备二氟氯乙酸乙酯方法如下:使用两级串联连接的200L搪瓷材质的夹套式喷淋塔A和B,喷淋塔A和B分别装填125L陶瓷填料,喷淋塔A和B液体储存区(100L)各引入720mol(33170g,42L)乙醇,其中喷淋塔A为一级喷淋塔、喷淋塔B为二级喷淋塔。以1.5mol/min(254g/min)的速度向喷淋塔A中加入原料CClF2COCl物流1,1h共加入90mol(15246g)CClF2COCl,以初始2mol/min(92g/min)的速度向喷淋塔A中以喷淋的方式加入物流2乙醇。在喷淋塔A中,塔内温度控制在20℃左右,塔内压力控制在常压左右,使CClF2COCl和乙醇在填料区逆向接触反应,CClF2COCl在填料区内的停留时间为3.7min左右。喷淋塔A中,塔顶得到含有未反应的CClF2COCl的物流3,物流3进入喷淋塔B,以初始1mol/min(46g/min)的速度向喷淋塔B中以喷淋的方式加入物流5乙醇,塔内温度控制在15℃左右,塔内压力控制在常压左右,使CClF2COCl和乙醇在填料区逆向接触反应。喷淋塔A中,塔顶得到物流6尾气。连续向喷淋塔A中连续加入CClF2COCl 8.3h后,即合计向喷淋塔A中加入750mol(127050g)CClF2COCl,停止向喷淋塔A中加入CClF2COCl,塔底得到含有产物二氟氘乙酸乙酯的物流4。同时CClF2COCl切换至喷淋塔B继续反应,一次性引出喷淋塔A中充分反应的物流4,之后喷淋塔A液体储存区一次性引入720mol乙醇。
根据喷淋塔A和B累计产物色谱计算结果:二氟氯乙酰氯转化率98.1%,二氟氯乙酸乙酯选择性99.7%,二氟氯乙酸乙酯计算收率为97.8%,收集产物中乙醇质量含量为1.8%。

参考文献
[1]浙江省化工研究院有限公司,浙江蓝天环保高科技股份有限公司,中化蓝天集团有限公司. 一种连续非催化反应制备二氟氯乙酸酯和二氟氯乙酸的方法:CN201710430124.7[P]. 2018-12-18.